Honda Civic manuals

Subaru Legacy BN/BS (2015-2019) Service Manual: Assembly

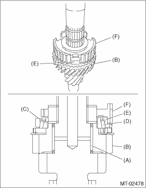
NOTE:

Match the alignment marks, and install the coupling sleeve and then install the shifting insert.

Make sure that there is no large clearance at both sides of the shifting insert after assembly.

(A)

Shifting insert

(B)

Synchronizer hub

(C)

Coupling sleeve

(D)

There is no large clearance at this part.

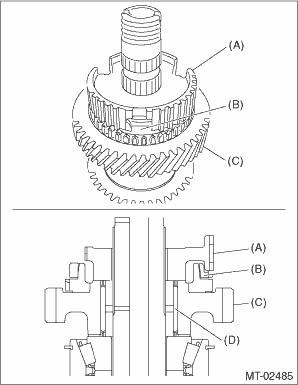
1. Install the 3rd needle bearing, 3rd drive gear, 3rd outer baulk ring, 3rd synchro cone, 3rd inner baulk ring and 3rd-4th synchronizer hub.

NOTE:

Install the 3rd-4th synchronizer hub in the correct direction.

Align the protrusion of the 3rd outer baulk ring into the groove of the 3rd-4th synchronizer hub.

(A)

3rd needle bearing

(B)

3rd drive gear

(C)

3rd inner baulk ring

(D)

3rd synchro cone

(E)

3rd outer baulk ring

(F)

3rd-4th synchronizer hub

2. Install the 4th needle bearing race using ST1, ST2, ST3 and a press.

CAUTION:

Do not apply a load in excess of 10 kN (1 ton, 1.1 US ton, 1.0 Imp ton).

ST1 899714110REMOVER
ST2 499877000RACE 4-5 INSTALLER
ST3 398177700INSTALLER

(A)

4th needle bearing race

3. Install the 3rd-4th coupling sleeve.

NOTE:

Install the 3rd-4th coupling sleeve in the correct direction.

Align the alignment marks of 3rd-4th coupling sleeve and the 3rd-4th synchronizer hub.

(A)

3rd-4th coupling sleeve

4. Install the 3rd-4th shifting insert.

NOTE:

Press in the ball part to install.

5. Install the 4th baulk ring, 4th needle bearing, 4th drive gear and 4th gear thrust washer.

NOTE:

Align the protrusion of the 4th baulk ring into the groove of the 3rd-4th synchronizer hub.

Install the 4th gear thrust washer with the groove side facing the 4th drive gear.

(A)

Groove

(B)

Face this surface to the 4th gear side.

(A)

3rd-4th coupling sleeve

(B)

4th baulk ring

(C)

4th drive gear

(D)

4th needle bearing

(E)

4th gear thrust washer

6. Install the double taper roller bearing using ST1, ST2 and a press.

CAUTION:

Do not apply a load in excess of 10 kN (1 ton, 1.1 US ton, 1.0 Imp ton).

NOTE:

Use a new double taper roller bearing.

Install the double taper roller bearing with snap ring side facing the 5th drive gear side.

ST1 899714110REMOVER
ST2 499877000RACE 4-5 INSTALLER

7. Make sure that the double taper roller bearing turns smoothly.

8. Install the 5th needle bearing race using ST1, ST2 and press.

CAUTION:

Do not apply a load in excess of 10 kN (1 ton, 1.1 US ton, 1.0 Imp ton).

ST1 899714110REMOVER
ST2 499877000RACE 4-5 INSTALLER

(A)

5th needle bearing race

9. Install the 5th needle bearing, 5th drive gear, 5th baulk ring, and 5th-6th synchronizer hub.

NOTE:

Align the protrusion part of the 5th baulk ring with the groove of the 5th-6th synchronizer hub.

Install the 5th-6th synchronizer hub in the correct direction.

(A)

5th-6th synchronizer hub

(B)

5th baulk ring

(C)

5th drive gear

(D)

5th needle bearing (cage: black)

10. Install the 6th needle bearing race using ST1, ST2 and press.

CAUTION:

Do not apply a load in excess of 10 kN (1 ton, 1.1 US ton, 1.0 Imp ton).

ST1 899714110REMOVER
ST2 499877000RACE 4-5 INSTALLER

(A)

6th needle bearing race

11. Install the 5th-6th coupling sleeve.

NOTE:

Install the 5th-6th coupling sleeve in the correct direction.

Align the alignment marks of 5th-6th coupling sleeve and the 5th-6th synchronizer hub.

(A)

5th-6th coupling sleeve

12. Install the 5th-6th shifting insert.

NOTE:

Press in the ball part to install.

13. Install the 6th baulk ring, 6th drive gear and 6th needle bearing.

(A)

5th-6th coupling sleeve

(B)

6th baulk ring

(C)

6th drive gear

(D)

6th needle bearing (cage: silver)

14. Install the ball bearing using ST2 and a press.

CAUTION:

Do not apply a load in excess of 10 kN (1 ton, 1.1 US ton, 1.0 Imp ton).

NOTE:

Install the ball bearing with the side which does not have lock nut mounting dent facing 6th drive gear.

ST1 899714110REMOVER
ST2 899754112PRESS

15. Install the lock washer.

NOTE:

Use a new lock washer.

Install the lock washer in the correct direction.

(A)

Lock nut side

16. Install the lock nut using ST1 and ST2.

NOTE:

Use a new lock nut.

Tightening torque:

160 N·m (16.3 kgf-m, 118.0 ft-lb)

ST1 498937000TRANSMISSION HOLDER
ST2 499987003SOCKET WRENCH (35)

17. Crimp the lock nut at two locations so that the dimension (B) becomes 23.3 mm (0.92 in) or less.

CAUTION:

When crimping the lock nut, be careful not to crack it.

(A)

Lock nut

(B)

Outer dimension after crimping

Disassembly
NOTE:When replacing the coupling sleeve and synchronizer hub, replace them as a set. Because these must engage at the specified point, avoid disassembly as much as possible. If it is necessary to disa ...

Manual transmission assembly
...

Other materials:

Installation
1. Apply a coat of spray type lubricant to the mating area of cushion rubber.2. Install the rear exhaust pipe to cushion rubber.NOTE:After assembling, degrease the lubricant which was applied to the cushion rubber while removing/installing.3. Install the bolts and self-locking nuts which secure the ...

© 2017-2026 Copyright www.sulegacy.com