Honda Civic manuals

Subaru Legacy BN/BS (2015-2019) Service Manual: Assembly

1. Before assembly, check each part. Rear Shock Absorber > INSPECTION

2. Using a coil spring compressor, compress the coil spring - rear.

CAUTION:

When installing the coil spring compressor to the coil spring, follow the operation manual accompanied with the coil spring compressor during operation.

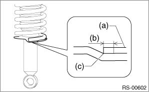
3. Install by aligning with the edge surface of the coil spring - rear and the stopper portion of the lower side spring seat.

(a)

Coil spring - rear

(b)

0+10 mm (0+0.4 in)

(c)

Spring seat stopper portion

4. Install the helper - rear and the dust cover - rear shock to the piston rod.

5. Fully pull up the piston rod in the upward direction.

6. Temporarily tighten the rubber seat - shock UPR and the shock mount - rear with new self-locking nuts.

NOTE:

Position the shock mount - rear as shown in the figure.

A

LH side

B

RH side

(a)

Front side of vehicle

(b)

Vehicle outside

(c)

0°±10°

(d)

End portion of coil spring - rear

7. Using a hexagon wrench to prevent the shock absorber piston rod from turning, tighten the new self-locking nut with ST.

CAUTION:

Make sure that the shock mount - rear turns smoothly after tightening.

Preparation tool:

ST: STRUT MOUNT SOCKET (20399FG000)

Tightening torque:

25 N·m (2.5 kgf-m, 18.4 ft-lb)

8. Loosen the coil spring compressor carefully.

Removal
1. Disconnect the ground terminal from battery sensor. NOTE2. Remove the trunk trim panel assembly - side (sedan model) or rear floor mat (OUTBACK model).• Sedan model: Trunk Room Trim > REMOV ...

Installation
CAUTION:• Be sure to use a new flange nut and self-locking nut.• Always tighten the bushing in the state where the vehicle is at curb weight and the wheels are in full contact with the gro ...

Other materials:

General diagnostic table inspection
1. IMPROPER VEHICLE POSTURE OR IMPROPER WHEEL ARCH HEIGHTPossible causeCorrective action(1) Deformation or damage of suspension partsReplace.(2) Rough operation of strut COMPL or shock absorber COMPLReplace.(3) Improper installation of strut COMPL or shock absorber COMPLReplace with appropriate part ...

© 2017-2026 Copyright www.sulegacy.com