Honda Civic manuals

Subaru Legacy BN/BS (2015-2019) Service Manual: Component

(1)

Front mounting bracket (H6 model)

(7)

Main cushion rubber

Tightening torque: N·m (kgf-m, ft-lb)

(2)

Bracket

(8)

Stopper (OUTBACK model only)

T1:

45 (4.6, 33.2)

(3)

Front mounting bracket (H4 model)

(9)

Stud bolt

T2:

60 (6.1, 44.3)

(4)

Cradle

(10)

Stiffener

T3:

65 (6.6, 47.9)

(5)

Crossmember support - front

(11)

Bolt

T4:

90 (9.2, 66.4)

(6)

Main mounting bracket

(12)

Self-locking nut

(1)

Front stabilizer

(11)

Ball joint ASSY

(21)

Housing ASSY - front axle

(2)

Clamp - stabilizer bushing

(12)

Castle nut

(3)

Bushing - stabilizer

(13)

Cotter pin

Tightening torque: N·m (kgf-m, ft-lb)

(4)

Flange nut

(14)

Spacer - arm front

T1:

25 (2.5, 18.4)

(5)

Stabilizer link ASSY

(15)

Stopper - rubber front

T2:

39 (4.0, 28.8)

(6)

Flange bolt

(16)

Rear bushing ASSY

T3:

50 (5.1, 36.9)

(7)

Self-locking nut

(17)

Plate - arm front

T4:

60 (6.1, 44.3)

(8)

Cradle

(18)

Front strut ASSY

T5:

95 (9.7, 70.1)

(9)

Front bushing

(19)

Adjusting washer

T6:

140 (14.3, 103.3)

(10)

Front arm ASSY

(20)

Adjusting bolt

T7:

155 (15.8, 114.3)

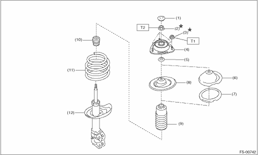
(1)

Dust seal - front strut

(7)

Rubber seat (OUTBACK model)

Tightening torque: N·m (kgf-m, ft-lb)

(2)

Self-locking nut

(8)

Spring seat - front strut UPR (sedan model)

T1:

20 (2.0, 14.8)

(3)

Flange nut

(9)

Dust cover - front strut

T2:

55 (5.6, 40.6)

(4)

Strut mount - front

(10)

Helper - front strut

(5)

Spacer - front strut

(11)

Coil spring - front

(6)

Spring seat - front strut UPR (OUTBACK model)

(12)

Strut COMPL - front

Preparation tool
1. SPECIAL TOOLILLUSTRATIONTOOL NUMBERDESCRIPTIONREMARKS99099AJ000ENGINE HANGER• Used for hanging power unit.• Used together with CHAIN BALANCER (99099AJ010).99099AJ010CHAIN BALANCER• ...

Wheel alignment
...

Other materials:

Dtc p2530 ignition switch run position circuit
DTC DETECTING CONDITION:Immediately at fault recognitionTROUBLE SYMPTOM:Improper idlingCAUTION:After servicing or replacing faulty parts, perform Clear Memory Mode Clear Memory Mode > OPERATION, and Inspection Mode Inspection Mode > PROCEDURE.WIRING DIAGRAM:• Engine Electrical System ENGINE ...

© 2017-2026 Copyright www.sulegacy.com