Honda Civic manuals

Subaru Legacy BN/BS (2015-2019) Service Manual: Disposal

CAUTION:

Before handling the shock absorber, be sure to wear goggles to protect eyes from gas, oil and cutting powder.

Do not disassemble the shock absorber or place it into a fire.

Drill a hole into shock absorbers in case of discarding shock absorbers filled with gas.

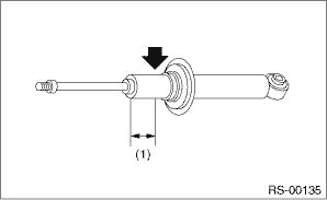
1. Place the shock absorber on a level surface with the piston rod fully expanded.

2. Make a hole into the specified position 30 mm (1.18 in) deep using a drill with 2 — 3 mm (0.08 — 0.12 in) diameter.

(1)

40 mm (1.57 in)

Inspection
1. Check for oil leaks.2. Move the piston rod up and down to check that it operates smoothly without any hitch.3. Check the piston rod for play as follows:(1) Fix the outer shell in place and fully ex ...

Disassembly
1. Using a coil spring compressor, compress the coil spring.2. Using a hexagon wrench to prevent the shock absorber piston rod from turning, remove the self-locking nut with ST.CAUTION:When installing ...

Other materials:

Dtc p0038 a/f / o2 heater control circuit high bank 1 sensor 2
DTC DETECTING CONDITION:Detected when two consecutive driving cycles with fault occur.CAUTION:After servicing or replacing faulty parts, perform Clear Memory Mode Clear Memory Mode > OPERATION, and Inspection Mode Inspection Mode > PROCEDURE.WIRING DIAGRAM:• Engine Electrical System ENGINE T ...

© 2017-2025 Copyright www.sulegacy.com