Honda Civic manuals

Subaru Legacy BN/BS (2015-2019) Service Manual: Dtc p0128 coolant thermostat (engine coolant temperature below thermostat regulating temperature)

Subaru Legacy BN/BS (2015-2019) Service Manual / Engine (diagnostics)(h6do) / Diagnostic procedure with diagnostic trouble code (dtc) / Dtc p0128 coolant thermostat (engine coolant temperature below thermostat regulating temperature)

DTC DETECTING CONDITION:

Detected when two consecutive driving cycles with fault occur.

TROUBLE SYMPTOM:

Thermostat remains open.

CAUTION:

After servicing or replacing faulty parts, perform Clear Memory Mode Clear Memory Mode > OPERATION, and Inspection Mode Inspection Mode > PROCEDURE.

STEPCHECKYESNO

1.CHECK FOR ANY OTHER DTC ON DISPLAY.

Is any other DTC displayed-

Check the appropriate DTC using the “List of Diagnostic Trouble Code (DTC)”. List of Diagnostic Trouble Code (DTC)

Diagnostic Procedure with Diagnostic Trouble Code (DTC) > DTC P0128 COOLANT THERMOSTAT (ENGINE COOLANT TEMPERATURE BELOW THERMOSTAT REGULATING TEMPERATURE)

2.CHECK ENGINE COOLANT.

Is the engine coolant amount normal-

Diagnostic Procedure with Diagnostic Trouble Code (DTC) > DTC P0128 COOLANT THERMOSTAT (ENGINE COOLANT TEMPERATURE BELOW THERMOSTAT REGULATING TEMPERATURE)

Refill the engine coolant. Engine Coolant

3.CHECK RADIATOR FAN.

1) Start the engine.

2) Check the radiator fan operation.

Does the radiator fan continuously rotate for 3 minutes or more during idling-

Repair radiator fan circuit. Radiator Fan and Fan Motor Assembly

Replace the thermostat. Thermostat

1. OUTLINE OF DIAGNOSIS

Detect malfunctions of the thermostat function.

Judge as NG when any one of the following conditions is established.

When the actual engine coolant temperature does not reach the maximum temperature necessary to perform other OBDII diagnosis and Σ (Estimated engine coolant temperature − actual engine coolant temperature) exceeded the predetermined value. (Judgment 1)

When the actual engine coolant temperature does not reach the range within −11°C (−19.8°F) from the regulated temperature and Σ (Estimated engine coolant temperature − actual engine coolant temperature) exceeded the predetermined value. (Judgment 2)

When the difference between the estimated coolant temperature and the actual engine coolant temperature exceeds the predetermined value, and Σ (Estimated engine coolant temperature − actual engine coolant temperature) exceeded the predetermined value. (Judgment 3)

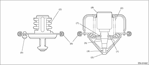
2. COMPONENT DESCRIPTION

(1)

Valve

(4)

Piston

(7)

Stop ring

(2)

Spring

(5)

Guide

(8)

Wax element

(3)

Stopper

(6)

Rubber seal

(9)

Jiggle valve

3. EXECUTION CONDITION

Secondary Parameters

Execution condition

Battery voltage

≥ 10.9 V

Ambient air temperature

≥ −7 °C (19.4 °F)

Vehicle speed

≥ 30 km/h (18.6 MPH)

Estimated coolant temperature

≥ Value of Map 1

Engine coolant temperature at engine starting

< 68 °C (154.4 °F)

Battery voltage

≥ 10.9 V

Ambient air temperature

≥ −7 °C (19.4 °F)

Vehicle speed

≥ 30 km/h (18.6 MPH)

Estimated coolant temperature

≥ Value from Map 2

Engine coolant temperature at engine starting

< 68 °C (154.4 °F)

Battery voltage

≥ 10.9 V

Ambient air temperature

≥ −7 °C (19.4 °F)

Vehicle speed

≥ 30 km/h (18.6 MPH)

Estimated coolant temperature

≥ Value from Map 3

Engine coolant temperature at engine starting

< 68 °C (154.4 °F)

Map 1

Engine coolant temperature at engine starting

°C (°F)

−7

(19.4)

8

(46.4)

10

(50)

25

(77)

Estimated coolant temperature

°C (°F)

75

(167)

75

(167)

75

(167)

75

(167)

Map 2

Engine coolant temperature at engine starting

°C (°F)

−7

(19.4)

8

(46.4)

10

(50)

25

(77)

Estimated coolant temperature

°C (°F)

85.5

(185.9)

85.5

(185.9)

85.5

(185.9)

85.5

(185.9)

Map 3

Engine coolant temperature at engine starting

°C (°F)

−7

(19.4)

10

(50)

47

(116.6)

60

(140)

Estimated coolant temperature

°C (°F)

61

(141.8)

68

(154.4)

85.5

(185.9)

85.5

(185.9)

4. GENERAL DRIVING CYCLE

Perform the diagnosis only once after starting the engine.

5. DIAGNOSTIC METHOD

If the duration of time while the following conditions are met is longer than the time indicated, judge as NG.

Judgment Value

Malfunction Criteria

Threshold Value

When any one of the followings is established:

Actual engine coolant temperature

< Value of Map 4

and

Σ (Estimated engine coolant temperature − actual engine coolant temperature)

> Value of Map 5

Actual engine coolant temperature

< Regulated temperature − Value of Map 6

and

Σ (Estimated engine coolant temperature − actual engine coolant temperature)

> Value of Map 7

Estimated engine coolant temperature − actual engine coolant temperature

> Value of Map 8

and

Σ (Estimated engine coolant temperature − actual engine coolant temperature)

> Value of Map 9

Map 4

Estimate ambient temperature

°C (°F)

−7

(19.4)

8

(46.4)

10

(50)

25

(77)

Threshold Value

°C (°F)

75

(167)

75

(167)

75

(167)

75

(167)

Map 5

Engine coolant temperature at engine starting

°C (°F)

−7

(19.4)

0

(32)

8

(46.4)

10

(50)

25

(77)

30

(86)

35

(95)

Threshold Value

°C (°F)

1731.6

(3116.9)

1731.6

(3116.9)

1731.6

(3116.9)

1731.6

(3116.9)

1731.6

(3116.9)

1731.6

(3116.9)

1200

(2160)

Map 6

Estimate ambient temperature

°C (°F)

−7

(19.4)

8

(46.4)

10

(50)

25

(77)

Threshold Value

°C (°F)

11.1

(20)

11.1

(20)

11.1

(20)

11.1

(20)

Map 7

Engine coolant temperature at engine starting

°C (°F)

−7

(19.4)

0

(32)

8

(46.4)

10

(50)

25

(77)

35

(95)

45

(113)

Threshold Value

°C (°F)

1731.6

(3116.9)

1731.6

(3116.9)

1731.6

(3116.9)

1731.6

(3116.9)

1731.6

(3116.9)

1731.6

(3116.9)

1200

(2160)

Map 8

Estimate ambient temperature

°C (°F)

−7

(19.4)

8

(46.4)

10

(50)

25

(77)

Threshold Value

°C (°F)

11.1

(20)

11.1

(20)

11.1

(20)

11.1

(20)

Map 9

Engine coolant temperature at engine starting

°C (°F)

−7

(19.4)

8

(46.4)

10

(50)

25

(77)

Threshold Value

°C (°F)

1731.6

(3116.9)

1731.6

(3116.9)

1731.6

(3116.9)

1731.6

(3116.9)

Time Needed for Diagnosis: Less than 1 second

Malfunction Indicator Light Illumination: Illuminates when malfunction occurs in 2 continuous driving cycles.

Diagnostic procedure with diagnostic trouble code (dtc)
...

Dtc p0851 park/neutral switch input circuit low
DTC DETECTING CONDITION:Detected when two consecutive driving cycles with fault occur.TROUBLE SYMPTOM:Improper idlingCAUTION:After servicing or replacing faulty parts, perform Clear Memory Mode Clear ...

Other materials:

Dtc p0158 o2 sensor circuit high voltage bank 2 sensor 2
DTC DETECTING CONDITION:Detected when two consecutive driving cycles with fault occur.CAUTION:After servicing or replacing faulty parts, perform Clear Memory Mode Clear Memory Mode > OPERATION, and Inspection Mode Inspection Mode > PROCEDURE.WIRING DIAGRAM:• Engine Electrical System ENGINE T ...

© 2017-2025 Copyright www.sulegacy.com