Honda Civic manuals

Subaru Legacy BN/BS (2015-2019) Service Manual: Electrical component location location

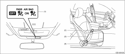
(1)

Airbag ON/OFF indicator light

(3)

Seat cushion & frame ASSY (occupant detection control module & occupant detection sensor)

(4)

Belt tension sensor

(2)

Buckle switch (passenger’s seat)

Clear memory mode operation
After repairing the occupant detection system, clear the DTCs stored in the airbag control module and the occupant detection control module.1. AIRBAG SYSTEM1. On «Start» display, select «Diagnosis ...

Inspection mode procedure
Recreate the circumstance by referring to the conditions described in the checklist. ...

Other materials:

Dtc p0138 o2 sensor circuit high voltage bank 1 sensor 2
DTC DETECTING CONDITION:Detected when two consecutive driving cycles with fault occur.CAUTION:After servicing or replacing faulty parts, perform Clear Memory Mode Clear Memory Mode > OPERATION, and Inspection Mode Inspection Mode > PROCEDURE.WIRING DIAGRAM:• Engine Electrical System ENGINE T ...

© 2017-2026 Copyright www.sulegacy.com