Honda Civic manuals

Subaru Legacy BN/BS (2015-2019) Service Manual: Inspection

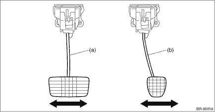
1. Move the pad - brake pedal in a horizontal direction with a force of approx. 10 N (1 kgf, 2 lbf), and check that the pedal deflection is in the range of specifications.

CAUTION:

If excessive deflection is noted, replace with a new bushing.

Deflection of brake pedal:

Wear limit: 5.0 mm (0.197 in) or less

(a)

Brake pedal (CVT model)

(b)

Brake pedal (MT model)

2. Check the position of the pedal pad.

Pedal height L:

125 — 135 mm (4.92 — 5.31 in)

Brake pedal free play A:

0.5 — 2.7 mm (0.020 — 0.11 in) [When pulling the brake pedal upward with a force of less than 10 N (1 kgf, 2 lbf).]

(1)

Stop light switch

(2)

Mat

(3)

Toe board

(4)

Brake booster operating rod

3. If it is not within the specification, loosen the lock nuts of vacuum booster operating rod, and rotate the rod to adjust the pedal height L within the specification.

4. Tighten the lock nut.

Tightening torque:

Operating lock nut: 22 N·m (2.2 kgf-m, 16.2 ft-lb)

NOTE:

Check the brake pedal height. When adjusting, also adjust the stop light switch.

Removal
1. CVT MODEL1. Disconnect the ground terminal from the battery sensor, and wait for at least 60 seconds before starting work. NOTE2. Remove the cover assembly - instrument panel LWR driver. Instrume ...

Installation
1. CVT MODEL1. Install the brake pedal assembly.CAUTION:• Apply grease to the snap pin to prevent the operating rod from wear.• Replace the clevis pin with new parts, and apply thin coat o ...

Other materials:

Dtc p2009 tgv control circuit low bank 1
DTC DETECTING CONDITION:Immediately at fault recognitionCAUTION:After servicing or replacing faulty parts, perform Clear Memory Mode Clear Memory Mode > OPERATION, and Inspection Mode Inspection Mode > PROCEDURE.WIRING DIAGRAM:• Engine Electrical System ENGINE TYPE FB (WITHOUT PUSH BUTTON ST ...

© 2017-2025 Copyright www.sulegacy.com