Honda Civic manuals

Subaru Legacy BN/BS (2015-2019) Service Manual: Inspection

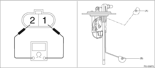
1. Check that the fuel sub level sensor has no damage.

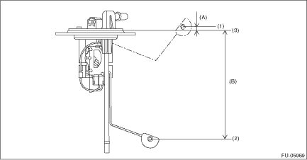
2. Measure the fuel sub level sensor float position.

(1)

FULL

(2)

EMPTY

(3)

Datum points

Float position

Standard

FULL to Datum point (A)

6.4±3.5 mm (0.252±0.138 in)

EMPTY to Datum point (B)

163.3±3.5 mm (6.429±0.138 in)

3. Measure the resistance between fuel sub level sensor terminals.

Float position

Terminal No.

Standard

FULL (A)

1 and 2

8.7±1.0 -

EMPTY (B)

270.9±4.0 -

Removal
WARNING:Place “NO OPEN FLAMES” signs near the working area.CAUTION:• Be careful not to spill fuel.• Catch the fuel from the tubes using a container or cloth.• If the fuel ...

Installation
1. Install the fuel sub level sensor to the fuel tank.CAUTION:Set the arm and float of the fuel sub level sensor while paying attention to prevent them from contacting the fuel tank. If the arm of the ...

Other materials:

Dtc p2610 ecm/pcm engine off timer performance
DTC DETECTING CONDITION:Detected when two consecutive driving cycles with fault occur.CAUTION:After servicing or replacing faulty parts, perform Clear Memory Mode Clear Memory Mode > OPERATION, and Inspection Mode Inspection Mode > PROCEDURE.STEPCHECKYESNO1.CHECK FOR ANY OTHER DTC ON DISPLAY.Is an ...

© 2017-2025 Copyright www.sulegacy.com