Honda Civic manuals

Subaru Legacy BN/BS (2015-2019) Service Manual: Inspection

Disassembled parts should be washed with cleaning solvent first, then inspected carefully.

1. Bearing

Replace the bearings in the following cases.

When the bearing balls, outer races and inner races are broken or rusty.

When the bearing is worn.

When the bearings fail to turn smoothly or emit noise in rotation after transmission gear oil has been applied.

When bearing has other defects.

2. Bushing (each gear)

Replace the bushing in following cases.

When the sliding surface is damaged or abnormally worn.

When the inner wall is abnormally worn.

3. Gear

Replace gears in the following cases.

Replace the gear with new part if its tooth surfaces are broken, damaged or excessively worn.

Correct or replace if the cone that contacts the baulk ring is rough or damaged.

Repair or replace if the inner surface or end face is damaged.

4. Baulk ring, synchro cone

Replace the baulk ring and synchro cone in the following cases.

When the inner surface or end face is damaged.

When the baulk ring inner surface is abnormally or partially worn down.

When the contact surface of the baulk ring insert section is cracked or abnormally worn.

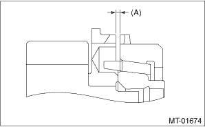
If the gap between the end faces of the baulk ring and the gear splined part is excessively small, check the clearance (A) while pressing the ring against the cone.

Clearance (A):

0.5 mm (0.020 in) or more

Single cone

Double cone

Apply transmission gear oil to the cone of the gear and while press-fitting the baulk ring, check there is no rotation in the circumferential direction.

5. Coupling sleeve and synchronizer hub

Check the slipping condition of the coupling sleeve.

Check the splines on the coupling sleeve and synchronizer hub for wear.

6. Shifting insert

Replace the shifting insert if there is deformation, excessive wear on the ball section or any defectiveness.

7. Oil seal

Replace the oil seal if the lip is deformed, hardened, worn or defective in any way.

8. Gearshift mechanism

Repair or replace the gearshift mechanism if excessively worn, bent or defective in any way.

Installation
1. Attach the needle bearing and oil seal to the front of the main shaft assembly.NOTE:• Wrap the clutch splined section with vinyl tape to prevent damage to the oil seal.• Apply NICHIMOLY ...

Disassembly
NOTE:When replacing the coupling sleeve and synchronizer hub, replace them as a set. Because these must engage at the specified point, avoid disassembly as much as possible. If it is necessary to disa ...

Other materials:

Periodic inspections
To keep your vehicle in the best condition at all times, always have the recommended maintenance services listed in the maintenance schedule in the "Warranty and Maintenance Booklet" performed at the specified time or mileage intervals. Driving in foreign countries When planning to use your ...

© 2017-2026 Copyright www.sulegacy.com