Honda Civic manuals

Subaru Legacy BN/BS (2015-2019) Service Manual: Installation

1. Attach the needle bearing and oil seal to the front of the main shaft assembly.

NOTE:

Wrap the clutch splined section with vinyl tape to prevent damage to the oil seal.

Apply NICHIMOLY N-130 or the equivalent to the lip of the oil seal.

Use a new oil seal.

2. Rotate the reverse idler sub gear by two teeth from free status in the direction of the arrow to make it engage with the reverse gear of the main shaft and install the main shaft assembly.

(1) When the reverse idler sub gear is at free status, put alignment marks on reverse idler sub gear and reverse idler gear.

(2) Rotate the alignment mark on the reverse idler sub gear side in the arrow direction by two teeth, and secure it with a wire.

(A)

Free status

(B)

Set status

(C)

Reverse idler sub gear

(D)

Reverse idler gear

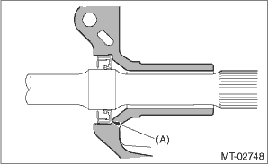
3. Fit the transmission case knock pin to the knock pin hole of the needle bearing outer race and install the main shaft assembly.

NOTE:

Align the end face of the seal with surface (A) when installing the oil seal.

Face the cutout portion of the snap ring for the double taper roller bearing to the drive pinion shaft assembly.

4. After installing the main shaft, check that the reverse idler gear and reverse idler sub gear are aligned two teeth away and remove the wire.

5. Install the drive pinion shaft assembly. Drive Pinion Shaft Assembly > INSTALLATION

6. Check each shifter fork. Shifter Fork and Rod > INSPECTION

7. Select a main shaft rear plate. Main Shaft Assembly > ADJUSTMENT

8. Install the transmission case. Transmission Case > INSTALLATION

9. Install the transfer case together with the extension case assembly. Transfer Case and Extension Case Assembly > INSTALLATION

10. Install the manual transmission assembly to the vehicle. Manual Transmission Assembly > INSTALLATION

Adjustment
Selection of main shaft rear plate:Measure the protrusion amount (A) of bearing from transmission main case surface, and select a suitable plate in the following table.NOTE:Before measuring, tap the e ...

Inspection
Disassembled parts should be washed with cleaning solvent first, then inspected carefully.1. BearingReplace the bearings in the following cases.• When the bearing balls, outer races and inner ra ...

Other materials:

Installation
CAUTION:If the hook - rear seat is disconnected from the vehicle body, make sure to replace the hook - rear seat with a new part to prevent the decline of the fixed force of the seat.1. Install the cover - catcher.2. Install the trim panel - center pillar LWR.NOTE:Assemble the trim panel - center pi ...

© 2017-2025 Copyright www.sulegacy.com