Honda Civic manuals

Subaru Legacy BN/BS (2015-2019) Service Manual: Inspection

1. CYLINDER BLOCK

1. Visually check for cracks or damage. Use liquid penetrant tester on the important sections for checking. Check that there are no marks of gas leaking or water leaking on gasket installing surface.

2. Check the oil passages for clogging.

3. Inspect the cylinder block surface that mates with cylinder head for warping by using a straight edge. If the warpage exceeds limit, replace the cylinder block.

Warping limit:

0.020 mm (0.0008 in)

Standard height of cylinder block:

202 mm (7.95 in)

2. CYLINDER AND PISTON

1. The cylinder bore size is stamped on the front upper face of the cylinder block.

NOTE:

Measurement should be performed at a temperature of 20°C (68°F).

Standard sized pistons are classified into two grades, “A” and “B”. These grades should be used as guide lines in selecting a standard piston.

Standard diameter:

A: 92.005 — 92.015 mm (3.6222 — 3.6226 in)

B: 91.995 — 92.005 mm (3.6218 — 3.6222 in)

(A)

Main journal size mark

(B)

Cylinder bore size mark

(C)

Cylinder block (RH) − (LH) combination mark

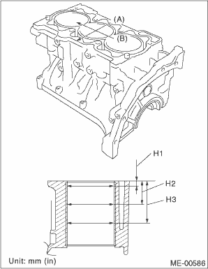
2. Measure inner diameter of each cylinder.

Measure the inner diameter of each cylinder in both the thrust and piston pin directions at the heights as shown in the figure, using a cylinder bore gauge.

NOTE:

Measurement should be performed at a temperature of 20°C (68°F).

Calculate the cylindricality of cylinder liner by using the following formula.

Calculation formula

C = The larger value between the calculation values C' and C''

C' = (D (a)−D (b))/2

C'' = (D (c)−D (d))/2

C: Cylindricality of cylinder liner

D (a): The largest value of all the values obtained by measuring the cylinder liner inner diameter in the direction of the piston pin

D (b): The smallest value of all the values obtained by measuring the cylinder liner inner diameter in the direction of the piston pin

D (c): The largest value of all the values obtained by measuring the cylinder liner inner diameter in the thrust direction

D (d): The smallest value of all the values obtained by measuring the cylinder liner inner diameter in the thrust direction

Calculate the out-of-roundness of cylinder liner at each measurement height by using the following formula.

Calculation formula

R = (D(c)−D(d))/2

R: Out-of-roundness of cylinder liner

D(c): The larger value between the measurement values in the piston pin direction and in the thrust direction of cylinder liner inner diameter

D(d): The smaller value between the measurement values in the piston pin direction and in the thrust direction of cylinder liner inner diameter

Cylindricality:

Limit

0.030 mm (0.0012 in)

Out-of-roundness:

Limit

0.030 mm (0.0012 in)

(A)

Thrust direction

(B)

Piston pin direction

H1:

10 mm (0.39 in)

H2:

45 mm (1.77 in)

H3:

80 mm (3.15 in)

3. When the piston is to be replaced due to general or cylinder wear, select a suitable sized piston by measuring the piston clearance.

4. Measure outer diameter of each piston.

Measure the outer diameter of each piston at the height as shown in the figure. (Thrust direction)

NOTE:

Measurement should be performed at a temperature of 20°C (68°F).

Piston grade point H:

37.3 mm (1.4685 in)

Piston outer diameter:

Standard

A: 92.005 — 92.015 mm (3.6222 — 3.6226 in)
B: 91.995 — 92.005 mm (3.6218 — 3.6222 in)

0.25 mm (0.0098 in) oversize

92.245 — 92.265 mm (3.6317 — 3.6325 in)

0.50 mm (0.0197 in) oversize

92.495 — 92.515 mm (3.6415 — 3.6423 in)

5. Calculate the clearance between cylinder and piston.

NOTE:

Measurement should be performed at a temperature of 20°C (68°F).

Clearance between cylinder and piston at 20°C (68°F):

Standard

−0.010 — 0.010 mm (−0.0004 — 0.0004 in)

6. Boring and honing:

(1) If any of the measured value of cylindricality, out-of-roundness or cylinder-to-piston clearance is out of standard or if there is any damage on the cylinder wall, rebore it to replace with an oversize piston.

CAUTION:

When any of the cylinders needs reboring, all other cylinders must be bored at the same time, and replaced with oversize pistons.

(2) If the cylinder inner diameter exceeds the limit after boring and honing, replace the cylinder block.

NOTE:

Immediately after reboring, the cylinder diameter may differ from its real diameter due to temperature rise. Thus, when measuring the cylinder diameter, wait until it has cooled to room temperature.

Cylinder inner diameter boring limit (diameter):

To 92.515 mm (3.6717 in)

3. PISTON AND PISTON PIN

1. Check the piston and piston pin for damage, cracks or wear. Replace if faulty.

2. Check the piston ring groove for wear or damage. Replace if faulty.

3. Make sure that the piston pin can be inserted into the piston pin hole with a thumb at 20°C (68°F). Replace if faulty.

Clearance between piston pin hole and piston pin:

Standard

0.004 — 0.008 mm (0.0002 — 0.0003 in)

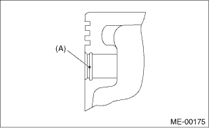
4. Check the snap ring installation groove (A) on the piston for burr. If necessary, remove burr from the groove so that the piston pin can lightly move.

5. Check the piston pin snap ring for distortion, cracks and wear.

4. PISTON RING

1. If the piston ring is broken, damaged or worn, or if its tension is insufficient, or when the piston is replaced, replace the piston ring with a new part of the same size as piston.

NOTE:

The top ring and second ring have the mark to determine the direction for installing. When installing the ring to piston, face marks to the top side.

Oil ring consists of the upper rail, expander and lower rail. When installing to the piston, be careful of the direction of each rail.

(A)

Top ring

(B)

Second ring

(C)

Oil ring

(a)

Upper rail

(b)

Expander

(c)

Lower rail

2. Squarely place the piston ring and oil ring in cylinder, and measure the piston ring gap with a thickness gauge.

Standard

mm (in)

Piston ring gap

Top ring

0.20 — 0.35

(0.0079 — 0.0138)

Second ring

0.40 — 0.50

(0.0157 — 0.0197)

Oil ring

0.20 — 0.50

(0.0079 — 0.0197)

3. Fit the piston ring straight into the piston ring groove, then measure the clearance between piston ring and piston ring groove with a thickness gauge.

NOTE:

Before measuring the clearance, clean the piston ring groove and piston ring.

Standard

mm (in)

Clearance between piston ring and piston ring groove

Top ring

0.040 — 0.080

(0.0016 — 0.0031)

Second ring

0.030 — 0.070

(0.0012 — 0.0028)

Clearance between oil ring and oil ring groove

0.065 — 0.165

(0.0026 — 0.0065)

5. CONNECTING ROD

1. Replace the connecting rod, if the large or small end thrust surface is damaged.

2. Check for bend or twist using a connecting rod aligner. Replace the connecting rod if the bend or twist exceeds the limit.

Limit of bend or twist per 100 mm (3.94 in) in length:

0.10 mm (0.0039 in)

(A)

Thickness gauge

(B)

Connecting rod

3. Install the connecting rod with bearings attached to the crankshaft, and using a thickness gauge, measure the thrust clearance. If the thrust clearance exceeds the standard or uneven wear is found, replace the connecting rod.

Connecting rod thrust clearance:

Standard

0.070 — 0.330 mm (0.0028 — 0.0130 in)

4. Inspect the connecting rod bearing for scar, peeling, seizure, melting, wear, etc.

5. Measure the oil clearance on each connecting rod bearing using plastigauge. If any oil clearance is not within the standard, replace the defective bearing with a new part of standard size or undersize as necessary.

Connecting rod oil clearance:

Standard

0.016 — 0.043 mm (0.0006 — 0.0017 in)

Unit: mm (in)

Bearing

Bearing size

(Thickness at center)

Outer diameter of crank pin

Standard

1.495 — 1.511

(0.0589 — 0.0595)

51.976 — 52.000

(2.0463 — 2.0472)

0.03 (0.0012)

Undersize

1.515 — 1.519

(0.0596 — 0.0598)

51.954 — 51.970

(2.0454 — 2.0461)

0.05 (0.0020)

Undersize

1.525 — 1.529

(0.0600 — 0.0602)

51.934 — 51.950

(2.0446 — 2.0453)

0.25 (0.0098)

Undersize

1.625 — 1.629

(0.0640 — 0.0641)

51.734 — 51.750

(2.0368 — 2.0374)

6. Inspect the bushing at connecting rod small end, and replace with a new part if worn or damaged.

7. Measure the piston pin clearance at connecting rod small end. If the measured value is not within the standard, replace it with a new part.

Clearance between piston pin and bushing:

Standard

0 — 0.022 mm (0 — 0.0009 in)

8. The replacement procedure for the connecting rod small end bushing is as follows.

(1) Remove the bushing from connecting rod with ST and press.

(2) Press the bushing with the ST after applying oil on the periphery of new bushing.

ST 18350AA000CONNECTING ROD BUSHING REMOVER AND INSTALLER

(3) Make two 3 mm (0.12 in) holes in the pressed bushing to match the pre-manufactured holes on the connecting rod, then ream the inside of the bushing.

(4) After completion of reaming, clean the bushing to remove chips.

6. CRANKSHAFT AND CRANKSHAFT BEARING

1. Clean the crankshaft completely, and check it for cracks using liquid penetrant tester. If defective, replace the crankshaft.

2. Check the crankshaft for bend, and repair or replace if needed. If it exceeds the limit, correct or replace it.

NOTE:

If a suitable V-block is not available, using the #1 and #7 crankshaft bearings on cylinder block, position the crankshaft on cylinder block. Then, measure the crankshaft bend using a dial gauge.

Crankshaft bend limit:

0.035 mm (0.0014 in)

3. Inspect the crank journal and crank pin for wear. If they are not within the standard, replace the bearing with a suitable (undersize) one, and replace or grind to correct the crankshaft as necessary. When grinding the crank journal or crank pin, finish them to the specified dimensions according to the undersize bearing to be used.

Crank pin:

Out-of-roundness

Limit
0.005 mm (0.0002 in)

Cylindricality

Limit
0.006 mm (0.0002 in)

Grinding limit (dia.)

To 51.734 mm (2.0368 in)

Crank journal:

Out-of-roundness

Limit
0.005 mm (0.0002 in)

Cylindricality

Limit
0.006 mm (0.0002 in)

Grinding limit (dia.)

To 63.742 mm (2.5095 in)

Unit: mm (in)

Crank journal diameter

Crank pin outer diameter

#1, #3, #5

#7

#2, #4, #6

Standard

Journal O.D.

63.992 — 64.016

(2.5194 — 2.5203)

51.976 — 52.000

(2.0463 — 2.0472)

Bearing size

(Thickness at center)

1.996 — 2.013

(0.0786 — 0.0793)

1.992 — 2.009

(0.0784 — 0.0791)

1.996 — 2.013

(0.0786 — 0.0793)

1.495 — 1.511

(0.0589 — 0.0595)

0.03 (0.0012)

Undersize

Journal O.D.

63.962 — 63.978

(2.5182 — 2.5188)

51.954 — 51.970

(2.0454 — 2.0461)

Bearing size

(Thickness at center)

2.011 — 2.014

(0.0792 — 0.0793)

2.011 — 2.014

(0.0792 — 0.0793)

2.015 — 2.018

(0.0793 — 0.0794)

1.515 — 1.519

(0.0596 — 0.0598)

0.05 (0.0020)

Undersize

Journal O.D.

63.942 — 63.958

(2.5174 — 2.5180)

51.934 — 51.950

(2.0446 — 2.0453)

Bearing size

(Thickness at center)

2.021 — 2.024

(0.0796 — 0.0797)

2.021 — 2.024

(0.0796 — 0.0797)

2.025 — 2.028

(0.0797 — 0.0798)

1.525 — 1.529

(0.0600 — 0.0602)

0.25 (0.0098)

Undersize

Journal O.D.

63.742 — 63.758

(2.5095 — 2.5102)

51.734 — 51.750

(2.0368 — 2.0374)

Bearing size

(Thickness at center)

2.121 — 2.124

(0.0835 — 0.0836)

2.121 — 2.124

(0.0835 — 0.0836)

2.125 — 2.128

(0.0837 — 0.0838)

1.625 — 1.629

(0.0640 — 0.0641)

4. Use a thickness gauge to measure the thrust clearance of crankshaft at center bearing. If clearance exceeds the standard, replace the bearing.

Crankshaft thrust clearance:

Standard

0.040 — 0.212 mm (0.0016 — 0.0083 in)

5. Inspect individual crankshaft bearings for signs of flaking, seizure, melting and wear.

6. Measure the oil clearance on each crankshaft bearing using plastigauge. If the measured value is out of standard, replace the defective bearing with an undersize one, and replace or grind to correct the crankshaft as necessary.

Crankshaft oil clearance:

Standard

0.010 — 0.030 mm (0.0004 — 0.0012 in)

Installation
1. After setting the cylinder block to ST, install the crankshaft bearing.ST 18232AA000ENGINE STANDNOTE:Apply a coat of engine oil to the bearing and crankshaft journal.2. Mount the crankshaft in c ...

Disassembly
(1)Connecting rod(2)Connecting rod bearing(3)Piston(4)Piston pin(5)Circlip(6)Oil ring(7)Second ring(8)Top ringNOTE:To prevent confusion of various parts, mark each part.1. Remove the connecting rod be ...

Other materials:

Inspection mode procedure
1. VDC SYSTEM1. Delete the DTC.2. Drive the vehicle at least ten minutes. (Reproduce nearly the same condition as occurred when the DTC was recorded.)NOTE:Make sure the vehicle is not dragged to one side under usual driving condition.2. ELECTRONIC PARKING BRAKE SYSTEM1. Start the engine, and operate ...

© 2017-2025 Copyright www.sulegacy.com