Honda Civic manuals

Subaru Legacy BN/BS (2015-2019) Service Manual: Inspection

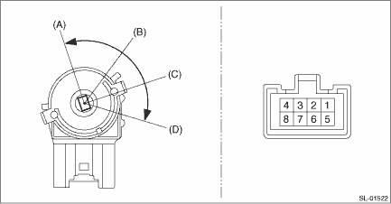
1. Measure the resistance between connector terminals.

Preparation tool:

Circuit tester

Terminal No.

Inspection conditions

Standard

Between all terminals

(A)

LOCK

1 M- or more

2 — 4

(B)

ACC

Less than 1 -

1 — 2 — 4

5 — 6

(C)

ON

Less than 1 -

1 — 3 — 4

5 — 6 — 7

(D)

ST

Less than 1 -

2. Replace the ignition switch assembly if the inspection result is not within the standard.

Disassembly
NOTE:Refer to “Key Lock Cylinders” for disassembly of the ignition key lock. Key Lock Cylinders > REMOVAL ...

Immobilizer antenna
...

Other materials:

Installation
1. Install the ambient sensor.2. Install the active grille shutter using the bolts securing the active grille shutter.Tightening torque:7.5 N·m (0.8 kgf-m, 5.5 ft-lb)3. Connect the connector to the active grille shutter actuator.4. Connect the connector to the ambient sensor.5. Install the fr ...

© 2017-2025 Copyright www.sulegacy.com