Honda Civic manuals

Subaru Legacy BN/BS (2015-2019) Service Manual: Inspection

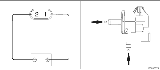
1. PURGE CONTROL SOLENOID VALVE

1. Check that the purge control solenoid valve has no deformation, cracks or other damages.

2. Measure the resistance between the purge control solenoid valve terminals.

Terminal No.

Standard

1 and 2

24.5±1.5 - (20°C (68°F))

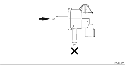
3. Check that air does not come out from (B) when air is blown into (A).

4. Connect the battery positive terminal to the terminal No. 1 and the battery negative terminal to the terminal No. 2. Check that air is discharged from (B), when supplying air to (A).

2. OTHER INSPECTIONS

Check the vacuum hose for cracks, damage or looseness.

Removal
1. Disconnect the ground terminal from battery sensor. NOTE2. Remove the bolt securing the purge control solenoid valve onto intake manifold assembly.NOTE:Hold the purge control solenoid valve unit b ...

Installation
1. Install the vacuum hose to the purge control solenoid valve.2. Connect the vacuum hose (A) and connector (B) to the purge control solenoid valve.3. Install the bolt securing the purge control solen ...

Other materials:

Dtc p2420 evap system switching valve control circuit high
DTC DETECTING CONDITION:Immediately at fault recognitionCAUTION:After servicing or replacing faulty parts, perform Clear Memory Mode Clear Memory Mode > OPERATION, and Inspection Mode Inspection Mode > PROCEDURE.WIRING DIAGRAM:• Engine Electrical System ENGINE TYPE EZ (WITHOUT PUSH BUTTON ST ...

© 2017-2026 Copyright www.sulegacy.com