Honda Civic manuals

Subaru Legacy BN/BS (2015-2019) Service Manual: Inspection

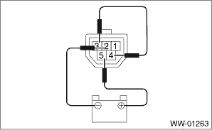
1. Check that the following operations perform normally.

CAUTION:

Fix the motor to prevent the motor from being shorted by moving during operation.

(1) When the battery is connected to the terminal of connectors, confirm that the motor operates at low speed.

(2) When the battery is connected to the terminal of connectors, confirm that the motor operates at high speed.

(3) Connect the battery to terminals of the connector, and remove the terminal connection with motor rotating at low speed, and stop the motor assembly - windshield wiper in mid-operation.

(4) Connect the battery and check that the motor stops at the automatic stop position after the motor operates at low speed again.

NOTE:

Replace the motor assembly - windshield wiper if the inspection result is not within the standard.

2. Install the motor assembly - windshield wiper. Front Wiper Motor and Link > INSTALLATION

Removal
1. Disconnect the ground terminal from battery sensor. NOTE2. Remove the arm assembly - windshield wiper. Front Wiper Arm > REMOVAL3. Remove the cowl panel - side and the cowl panel assembly. Cowl ...

Installation
CAUTION:Before installing the windshield glass and cowl panel, make sure there are no gravel in the installing area.1. Connect the ground terminal to battery sensor. NOTE2. Check that the motor assem ...

Other materials:

General diagnostic table inspection
NOTE:Vibration while cruising may be caused by an unbalanced tire, improper tire inflation pressure, improper wheel alignment, etc.SymptomsPossible causeCorrective actionNoise or vibration from propeller shaft• Center bearing• Runout of propeller shaft• Loose or gap at connectionsI ...

© 2017-2025 Copyright www.sulegacy.com