Honda Civic manuals

Subaru Legacy BN/BS (2015-2019) Service Manual: Inspection

1. Remove the horn assembly (Hi side & Lo side). Horn > REMOVAL

2. Check the horn sounds when applying the battery voltage to the horn assembly.

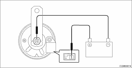
Horn assembly - Lo side

Terminal No.

Inspection conditions

Specification

1 (+) — Horn case (−)

Connect battery to the terminals

Sounds

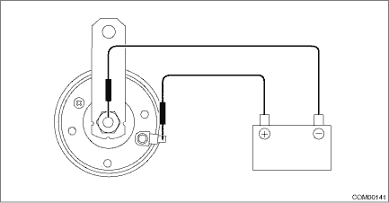
Horn assembly - Hi side

Terminal No.

Inspection conditions

Specification

1 (+) — Horn case (−)

Connect battery to the terminals

Sounds

3. If it does not operate normally, replace the horn assembly.

Removal
CAUTION:When removing the horn, do not remove the bumper face – front. Bracket connection portion of the bumper face may become damaged.1. Disconnect the ground terminal from battery sensor. NOTE2. ...

Installation
CAUTION:Install so that the front end of the under cover (b) comes inside the bumper face - front (a), and the front end of the mud guard (c) comes outside the bumper face - front (a).1. Install the h ...

Other materials:

Dtc b1431 in-vehicle (post evaporator) temperature sensor circuit short-circuit
DTC DETECTING CONDITION:In-vehicle sensor circuit is shorted.TROUBLE SYMPTOM:In-vehicle air temperature is falsely recognized as 25°C (77°F), and the compartment temperature is adjusted.WIRING DIAGRAM:Air conditioning system Air Conditioning System > WIRING DIAGRAMSTEPCHECKYESNO1.CHEC ...

© 2017-2025 Copyright www.sulegacy.com