Honda Civic manuals

Subaru Legacy BN/BS (2015-2019) Service Manual: Installation

1. Install the reduction drive gear to secondary pulley.

2. Select the reduction drive gear shim. Reduction Drive Gear > ADJUSTMENT

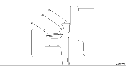
3. Install the dish plates, spring retainers, and selected reduction drive gear shims.

NOTE:

Install the dish plate in the correct direction.

(A)

Reduction drive gear shim

(B)

Spring retainer

(C)

Dish plate

4. Install the transmission case. Transmission Case > INSTALLATION

5. Install the transmission control device. Transmission Control Device > INSTALLATION

6. Install the oil strainer and oil pan. Oil Pan and Strainer > INSTALLATION

7. Install the reduction driven gear assembly. Reduction Driven Gear > INSTALLATION

8. Install the parking pawl. Parking Pawl > INSTALLATION

9. Install the transfer driven gear assembly. Transfer Driven Gear > INSTALLATION

10. Install the transfer clutch assembly. Transfer Clutch > INSTALLATION

11. Install the extension case. Extension Case > INSTALLATION

12. Install the inhibitor switch. Inhibitor Switch > INSTALLATION

13. Install the secondary speed sensor. Secondary Speed Sensor > INSTALLATION

14. Install the primary speed sensor. Primary Speed Sensor > INSTALLATION

15. Install the turbine speed sensor. Turbine Speed Sensor > INSTALLATION

16. Install the transmission harness. Transmission Harness > INSTALLATION

17. Install the control valve body. Control Valve Body > INSTALLATION

18. Install the air breather hose. Air Breather Hose > INSTALLATION

19. Install the transmission assembly. Automatic Transmission Assembly > INSTALLATION

Adjustment
1. Remove the spring retainers and reduction drive gear shims.2. Install the transmission case, and secure it with four or five bolts.Tightening torque:22 N·m (2.2 kgf-m, 16.2 ft-lb)3. Measure ...

Inspection
Check the reduction drive gear for breakage or damage. ...

Other materials:

Hill descent control function
The hill descent control function will be in standby mode when the X-mode is activated and the vehicle speed is less than approximately 12 mph (20 km/h). The function will operate when the vehicle speed is less than approximately 12 mph (20 km/h) and the accelerator ratio is less than appro ...

© 2017-2026 Copyright www.sulegacy.com