Honda Civic manuals

Subaru Legacy BN/BS (2015-2019) Service Manual: Installation

1. Open the fuel filler lid.

2. Insert the fuel filler pipe from inside of the rear fender.

3. Install the fuel filler pipe to the vehicle body and connect the evaporation hose (A) to the fuel filler pipe.

Tightening torque:

7.5 N·m (0.8 kgf-m, 5.5 ft-lb)

4. Align the cutout on the fuel filler pipe protector and the protrusion of the neck holder and insert them all the way, and then turn the fuel filler pipe protector in the direction of the arrow until it is locked.

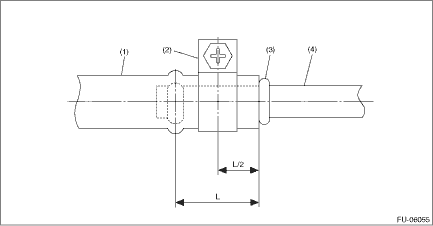
5. Correctly insert the fuel filler hose to the spool, and then install the clamp as shown.

Tightening torque:

2.5 N·m (0.3 kgf-m, 1.8 ft-lb)

(1)

Fuel filler hose

(3)

Spool

(4)

Fuel filler pipe

(2)

Clamp

6. Install the rear mud guard RH. Mud Guard > INSTALLATION

7. Install the rear sub frame assembly. Rear Sub Frame > INSTALLATION

Assembly
Install the fuel filler pipe bracket to the fuel filler pipe by aligning the alignment marks (A).Tightening torque:7.35 N·m (0.7 kgf-m, 5.4 ft-lb)• With protector• Without protector ...

Inspection
1. Check that the fuel filler pipe does not have deformation, cracks or other damages.2. Check that the fuel hose has no cracks, damage or loose part. ...

Other materials:

Disassembly
1. Remove the screw, disconnect the connector and remove the paddle shift switch. (Model with paddle shift)2. Release the claws and remove the screws, then detach the cover - spoke.3. Remove connector and screw, and remove the cover - steering wheel LWR.4. Release the claws and remove the screws, th ...

© 2017-2026 Copyright www.sulegacy.com