Honda Civic manuals

Subaru Legacy BN/BS (2015-2019) Service Manual: Preparation tool

1. SPECIAL TOOL

ILLUSTRATION

TOOL NUMBER

DESCRIPTION

REMARKS

(Newly adopted tool)

SUBARU SELECT MONITOR 4

Used for setting of each function and troubleshooting for electrical system.

NOTE:

For detailed operation procedures of Subaru Select Monitor 4, refer to “Application help”.

2. GENERAL TOOL

TOOL NAME

REMARKS

DST-i

Used together with Subaru Select Monitor 4.

Circuit tester

Used for measuring resistance, voltage and current.

NOTE:

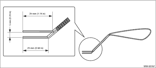
Referring to the data described below, prepare the materials to make a nozzle - windshield washer adjustment tool.

Materials

Vertebra of wiper blade which is to be discarded

Vinyl tape

Steps of making a front washer nozzle adjustment tool

(1) Bend the vertebra at the position 25 mm (0.98 in) away from its end by 45°.

(2) Bend the vertebra at the position 29 mm (1.14 in) away from the other end by 45°.

(3) Double up the vertebra so that the longer end (29 mm (1.14 in)) comes upward.

(4) Secure the vertebra with a vise (a) so that the tip clearance becomes 5 mm (0.20 in).

(5) Bend the vertebra at the position approximately 90 mm (3.54 in) away from the bending point for the longer end.

(6) Check that the tip clearance is 5 mm (0.20 in), and secure the vertebra with vinyl tape (b).

Caution
• Be careful of the following items. Failing to do so may cause the airbag system malfunction.– Yellow connectors and harnesses with yellow tapes around them are the connectors and harnesses ...

Component
1. FRONT WIPER(1)Motor ASSY - windshield wiper(6)Rubber ASSY - windshield wiper driverTightening torque: N·m (kgf-m, ft-lb)(2)Link ASSY - windshield wiper(7)Arm ASSY - windshield wiper assistor ...

Other materials:

Dtc p013b o2 sensor slow response - lean to rich bank 1 sensor 2
NOTE:For the diagnostic procedure, refer to DTC P013A. Diagnostic Procedure with Diagnostic Trouble Code (DTC) > DTC P013A O2 SENSOR SLOW RESPONSE - RICH TO LEAN BANK 1 SENSOR 21. OUTLINE OF DIAGNOSISDetect the slow response of lean > rich for rear oxygen sensor output.After the deceleration fuel c ...

© 2017-2025 Copyright www.sulegacy.com