Honda Civic manuals

Subaru Legacy BN/BS (2015-2019) Service Manual: Protector tape installation

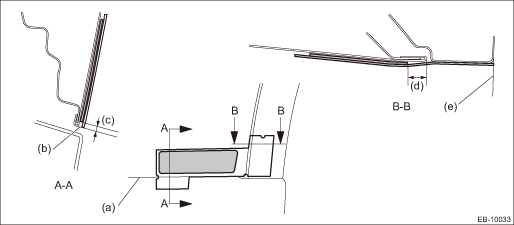
(a)

Panel ASSY - rear door end

(c)

4 mm+0 mm −4 mm (0.16 in+0 in −0.16 in)

(e)

Push the application tape end against the panel assembly - rear door end.

(b)

Push the application tape end against the panel assembly - rear door end.

(d)

14.4±4 mm (0.57±0.16 in)

1. Clean the area around applying position to remove any foreign objects on body.

2. Detach the backing papers from the protector tape and moisten the attaching area and protector tape backside by spraying liquid (mild detergent solution at 3% concentration).

3. Apply the protector tape to the vehicle body.

CAUTION:

Remove the water or air bubbles out of the protector tape by using the plastic or rubber spatula.

4. Detach the application tape and temporary retention tape.

Exterior body panels
...

Weather strip replacement
1. FLANGE1. Remove the weather strip - body side flange while pulling the rubber. Be careful not to tear the rubber.2. Replace the weather strip - trunk lid while pulling the rubber. Be careful not to ...

Other materials:

Dtc p0137 o2 sensor circuit low voltage bank 1 sensor 2
DTC DETECTING CONDITION:Detected when two consecutive driving cycles with fault occur.CAUTION:After servicing or replacing faulty parts, perform Clear Memory Mode Clear Memory Mode > OPERATION, and Inspection Mode Inspection Mode > PROCEDURE.WIRING DIAGRAM:• Engine Electrical System ENGINE T ...

© 2017-2025 Copyright www.sulegacy.com