Honda Civic manuals

Subaru Legacy BN/BS (2015-2019) Service Manual: Removal

1. FRONT DOOR

1. Disconnect the ground terminal from the battery sensor, and wait for at least 60 seconds before starting work. NOTE

2. Remove the trim panel - front door. Door Trim > REMOVAL

3. Remove the outer mirror assembly. Outer Mirror Assembly > REMOVAL

4. Remove the sealing cover - front door. Front Sealing Cover > REMOVAL

5. Remove the glass assembly - front door. Front Door Glass > REMOVAL

6. Remove the running channel - front door.

7. Remove the clip, and remove the weather strip - door upper side. Weather Strip > REPLACEMENT

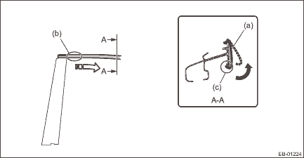
8. Remove the molding - door sash front (a) by disengaging the bottom part (c) from the specified position (b) toward the front side of the vehicle.

CAUTION:

When removing the molding - door sash, take special care to avoid the distortion.

When distortion occurred to the molding - door sash, always replace it with a new part.

9. Remove the weather strip outer - front door.

CAUTION:

When removing the weather strip outer, be careful not to damage the vehicle.

Do not reuse the weather strip outer. Always replace with a new part.

10. Peel the door sash tape from the door sash.

NOTE:

If the tape is difficult to remove, warm the tape with a hairdryer, etc. to make the removal easier.

Use a household hairdryer. Do not use industrial dryers.

If tape residue is remaining on the door sash, wipe clean.

2. REAR DOOR

1. Disconnect the ground terminal from battery sensor. NOTE

2. Remove the trim panel - rear door. Door Trim > REMOVAL

3. Remove the sealing cover - rear door. Rear Sealing Cover > REMOVAL

4. Remove the glass assembly - rear door. Rear Door Glass > REMOVAL

5. Remove the running channel - rear door.

6. Remove the clip, and remove the weather strip - door upper side. Weather Strip > REPLACEMENT

7. Remove the molding - door sash rear (a) by disengaging the bottom part (c) from the specified position (b) toward the rear side of the vehicle.

CAUTION:

When removing the molding - door sash, take special care to avoid the distortion.

When distortion occurred to the molding - door sash, always replace it with a new part.

8. Remove the weather strip outer - rear door.

CAUTION:

When removing the weather strip outer, be careful not to damage the vehicle.

Do not reuse the weather strip outer. Always replace with a new part.

9. Peel the door sash tape from the door sash.

NOTE:

If the tape is difficult to remove, warm the tape with a hairdryer, etc. to make the removal easier.

Use a household hairdryer. Do not use industrial dryers.

If tape residue is remaining on the door sash, wipe clean.

Door sash tape
...

Installation
CAUTION:• Do not reuse the removed door sash tape. Replace it with a new tape.• When applying tape, use a spatula, etc. to apply evenly, pushing it against the sash to make sure that no ai ...

Other materials:

Dtc b2282 vehicle speed signal correlation
DTC DETECTING CONDITION:When the vehicle speed signal transmitted from VDC via solid line and the vehicle speed signal transmitted from VDC via CAN communication line do not match.CAUTION:For replacement procedure of keyless access CM, refer to the “REGISTRATION MANUAL FOR IMMOBILIZER” p ...

© 2017-2025 Copyright www.sulegacy.com