Honda Civic manuals

Subaru Legacy BN/BS (2015-2019) Service Manual: Removal

1. Remove the engine from vehicle. Engine Assembly > REMOVAL

2. Remove the crank pulley. Crank Pulley > REMOVAL

3. Remove the chain cover. Chain Cover > REMOVAL

4. Remove the timing chain assembly. Timing Chain Assembly > REMOVAL

5. Remove the cam sprocket. Cam Sprocket > REMOVAL

6. Remove the crank sprocket. Crank Sprocket > REMOVAL

7. Remove the exhaust oil flow control solenoid valve. Oil Flow Control Solenoid Valve > REMOVAL

8. Remove the camshaft position sensor. Camshaft Position Sensor > REMOVAL

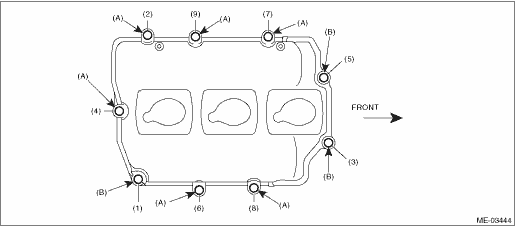
9. Loosen the rocker cover bolts in the order indicated in the figure, and remove the rocker cover.

LH side

(A)

M6 - 39.5

(B)

M6 - 26.3

RH side

(A)

M6 - 39.5

(B)

M6 - 26.3

10. Loosen the camshaft cap bolts equally, a little at a time in numerical sequence, as shown in the figure.

11. Remove the camshaft caps and camshaft (RH).

NOTE:

Arrange camshaft caps in order so that they can be installed in their original positions.

12. Similarly, remove the camshaft (LH) and related parts.

Camshaft
...

Inspection
1. Measure the bend, and repair or replace if necessary.Camshaft bend limit:0.020 mm (0.00079 in)2. Check the journal for damage and wear. Replace if faulty.3. Check the cutout portion used for camsha ...

Other materials:

Dtc p2135 throttle/pedal position sensor/switch "a"/"b" voltage correlation
DTC DETECTING CONDITION:Immediately at fault recognitionTROUBLE SYMPTOM:• Improper idling• Poor driving performanceCAUTION:After servicing or replacing faulty parts, perform Clear Memory Mode Clear Memory Mode > OPERATION, and Inspection Mode Inspection Mode > PROCEDURE.WIRING DIAGRAM: ...

© 2017-2025 Copyright www.sulegacy.com