Honda Civic manuals

Subaru Legacy BN/BS (2015-2019) Service Manual: Specification

1. SEDAN MODEL

Tire size

P225/55R17

P225/50R18

Wheel arch height

(Tolerance: +12 mm −24 mm (+0.47 in −0.94 in))

mm (in)

383 (15.08)

Camber (tolerance: ±0°45' Differences between RH and LH: 45' or less)

−1°25'

Toe-in

mm (in)

IN3±3 (IN0.12±0.12)

Toe angle (sum of both wheels): IN0°15'±15'

Thrust angle (tolerance: 0°00'±30')

0°00'

2. OUTBACK MODEL

Tire size

P225/65R17

P225/60R18

Wheel arch height

(Tolerance: +12 mm −24 mm (+0.47 in −0.94 in))

mm (in)

468 (18.43)

Camber (tolerance: ±0°45' Differences between RH and LH: 45' or less)

−1°00'

Toe-in

mm (in)

IN3±3 (IN0.12±0.12)

Toe angle (sum of both wheels): IN0°14'±14'

Thrust angle (tolerance: 0°00'±30')

0°00'

NOTE:

Front toe-in, rear toe-in and front camber can be adjusted. Adjust if the value of toe-in or camber exceeds the tolerance range of the specification chart.

Other items except for front toe-in, rear toe-in and front camber that are described in the specification chart cannot be adjusted.

If other items exceed the tolerance range of the specification chart, check the suspension parts and connections for deformation. If defective, replace with new parts.

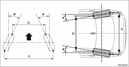
A − B = Positive: Toe-in, Negative: Toe-out

α = Individual toe angles

General description
...

Caution
• When performing any work, always wear work clothes, a work cap and protective shoes. Additionally, wear a helmet, protective goggles, etc. if necessary.• When disposing of shock absorber ...

Other materials:

Diagnostic procedure with phenomenon
PhenomenonCheck ItemNote1CRUISE switch is not turned ON. (CRUISE indicator does not illuminate.) Or the cruise control is cancelled without CRUISE switch operation.(1) Perform cruise cancel conditions diagnosis.Perform the diagnosis according to displayed cancel code.(2) Perform the real-time diagno ...

© 2017-2025 Copyright www.sulegacy.com