Honda Civic manuals

Subaru Legacy BN/BS (2015-2019) Service Manual: Assembly

1. Install the transfer clutch piston.

NOTE:

Apply CVTF to the transfer clutch piston lip.

2. Install the return spring.

3. Install the transfer clutch piston seal.

NOTE:

Apply CVTF to the lip section of transfer clutch piston seal.

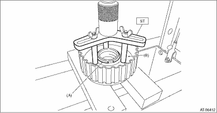
4. Compress the return spring using the ST to install the snap ring.

ST 18762AA001COMPRESSOR SPECIAL TOOL

(A)

Snap ring

(B)

Transfer clutch piston seal

5. Install the pressure plate, driven plate, drive plate and snap ring.

(A)

Snap ring

6. Blow compressed air through transfer clutch assembly hole, and check the transfer clutch piston operation.

NOTE:

Plug the holes through which the compressed air is not blown.

7. Before measuring clearance “A”, place same thickness shims on both sides to prevent the plate from tilting.

8. When clearance “A” exceeds the limit for use, replace the drive plate and driven plate as a set, and select and adjust the pressure plate within the initial specified value.

Initial standard:

0.7 — 1.1 mm (0.028 — 0.043 in)

Limit thickness:

1.45 mm (0.057 in)

Pressure plate

Part No.

Thickness mm (in)

31593AA151

3.3 (0.130)

31593AA161

3.7 (0.146)

9. Recheck the clearance. Transfer Clutch > INSPECTION

10. Using the ST, install the ball bearing.

NOTE:

Use a new ball bearing.

ST1 398177700INSTALLER
ST2 499277200INSTALLER

Disassembly
1. Remove the snap ring, and then remove the retaining plate, drive plate and driven plate.(A)Snap ring2. Compress the return spring using the ST to remove the snap ring.ST 18762AA001COMPRESSOR SPE ...

Transfer driven gear
...

Other materials:

Dtc b16b9 short in side satellite sensor bus lh
DIAGNOSIS START CONDITION:Ignition voltage is 10 V to 16 V.DTC DETECTING CONDITION:Short circuit between side sensor LH circuit and other sensor circuitWIRING DIAGRAM:NOTE:For the coupling connector, refer to “WIRING SYSTEM”.Airbag system Airbag System > WIRING DIAGRAMSTEPCHECKYESNO1.CH ...

© 2017-2026 Copyright www.sulegacy.com