Honda Civic manuals

Subaru Legacy BN/BS (2015-2019) Service Manual: Disassembly

1. Remove the snap ring, and then remove the retaining plate, drive plate and driven plate.

(A)

Snap ring

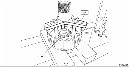
2. Compress the return spring using the ST to remove the snap ring.

ST 18762AA001COMPRESSOR SPECIAL TOOL

(A)

Snap ring

(B)

Transfer clutch piston seal

3. Remove the transfer clutch piston seal.

4. Remove the return spring.

5. Remove the transfer clutch piston by blowing compressed air through transfer clutch assembly hole.

NOTE:

Plug the holes through which the compressed air is not blown.

6. Remove the ball bearing using ST.

ST1 18767AA010BEARING REMOVER
ST2 18723AA000REMOVER

Inspection
• Inspect the drive plate facing for wear and damage.• Driven plate for discoloration (burned color)• Make sure the snap ring is not worn and the return spring has no permanent disto ...

Assembly
1. Install the transfer clutch piston.NOTE:Apply CVTF to the transfer clutch piston lip.2. Install the return spring.3. Install the transfer clutch piston seal.NOTE:Apply CVTF to the lip section of tr ...

Other materials:

Dtc p2419 evap system switching valve control circuit low
DTC DETECTING CONDITION:Immediately at fault recognitionCAUTION:After servicing or replacing faulty parts, perform Clear Memory Mode Clear Memory Mode > OPERATION, and Inspection Mode Inspection Mode > PROCEDURE.WIRING DIAGRAM:• Engine Electrical System ENGINE TYPE FB (WITHOUT PUSH BUTTON ST ...

© 2017-2026 Copyright www.sulegacy.com