Honda Civic manuals

Subaru Legacy BN/BS (2015-2019) Service Manual: Disassembly

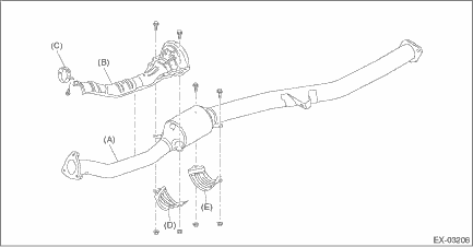
Remove each cover from the center exhaust pipe.

(A)

Center exhaust pipe

(C)

Band

(E)

Center exhaust pipe lower cover B

(B)

Center exhaust pipe upper cover

(D)

Center exhaust pipe lower cover A

Inspection
1. Check the connections and welded parts for exhaust leaks.2. Make sure there are no holes or rusting. ...

Front exhaust pipe
...

Other materials:

Dtc b1617 front sub sensor lh lost communication
DIAGNOSIS START CONDITION:Ignition voltage is 10 V to 16 V.DTC DETECTING CONDITION:Front sub sensor LH communication error (open/short circuit or connector connection failure between airbag CM and sensor, sensor internal communication circuit failure, CM internal communication circuit failure)CAUTIO ...

© 2017-2026 Copyright www.sulegacy.com