Honda Civic manuals

Subaru Legacy BN/BS (2015-2019) Service Manual: Inspection

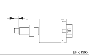
1. INSPECT THE SPECIFIED POSITION

1. Measure the specified position of the stop light switch ends.

Specified position L:

3.6 mm ±0.4 mm (0.14 in ±0.016 in)

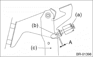
2. Measure the clearance between the end of the stop light switch and the stopper.

CAUTION:

Be careful not to rotate the stop light switch.

Stop light switch clearance A:

1.1 mm (0.03 — 0.04 in)

(a)

Stop light switch

(b)

Stopper

(c)

Brake pedal

3. Adjust the position of the stop light switch if the inspection result is not within the standard value. Stop Light Switch > ADJUSTMENT

4. If the stop light switch does not operate properly or it is not secured at the specified position after adjustment, replace with a new part.

2. INSPECT THE RESISTANCE

1. Check the resistance between connector terminals.

Preparation tool:

Circuit tester

Terminal No.

Inspection conditions

Standard

1 — 2

When brake pedal is depressed

Less than 1 -

When brake pedal is released

1 M- or more

2. Replace the stop light switch if the inspection result is not within the standard value.

Installation
1. Install the stop light switch onto the bracket with screws and position it with the nut.2. Adjust the stop light switch position, and then tighten the nut. Stop Light Switch > ADJUSTMENTTightening ...

Clutch system
...

Other materials:

Dtc p0328 knock/combustion vibration sensor 1 circuit high bank 1 or single sensor
DTC DETECTING CONDITION:Immediately at fault recognitionTROUBLE SYMPTOM:• Poor driving performance• Knocking occursCAUTION:After servicing or replacing faulty parts, perform Clear Memory Mode Clear Memory Mode > OPERATION, and Inspection Mode Inspection Mode > PROCEDURE.WIRING DIAGRAM: ...

© 2017-2025 Copyright www.sulegacy.com