Honda Civic manuals

Subaru Legacy BN/BS (2015-2019) Service Manual: Inspection

1. Check the shifter fork and fork rod for damage. Replace if it is damaged.

2. Gearshift mechanism

Repair or replace the gearshift mechanism if excessively worn, bent or defective in any way.

3. Inspect the clearance between 2nd driven gear and coupling sleeve. If any clearance is not within specifications, replace the shifter fork as required.

Clearance (a):

7.4 — 7.8 mm (0.291 — 0.307 in)

(A)

1st driven gear

(B)

Coupling sleeve

(C)

2nd driven gear

1st-2nd shifter fork

Part No.

Mark

Content

32804AA120

1

Approaches 2nd gear by 0.2 mm (0.008 in).

32804AA130

No mark

Standard

32804AA140

2

Approaches 1st gear by 0.2 mm (0.008 in).

4. Inspect the clearance between the 3rd, 4th drive gear and the coupling sleeve. If any clearance is not within specifications, replace the shifter fork as required.

Clearance (a), (b):

7.5 mm (0.295 in)

(A)

3rd drive gear

(B)

Coupling sleeve

(C)

4th drive gear

3rd-4th shifter fork

Part No.

Mark

Content

32810AA061

1

Approaches 4th gear by 0.2 mm (0.008 in).

32810AA071

No mark

Standard

32810AA101

3

Approaches 3rd gear by 0.2 mm (0.008 in).

5. Inspect the clearance between 5th, 6th drive gear and coupling sleeve. If any clearance is not within specifications, replace the shifter fork as required.

Clearance (a), (b):

7.5 mm (0.295 in)

(A)

5th drive gear

(B)

6th drive gear

(C)

Coupling sleeve

5th-6th shifter fork

Part No.

Mark

Content

32940AA050

1

Approaches 5th gear by 0.2 mm (0.008 in).

32940AA060

No mark

Standard

32940AA070

2

Approaches 6th gear by 0.2 mm (0.008 in).

6. Check the clearance between the reverse idler gear and reverse coupling sleeve. If any clearance is not within specifications, replace the shifter fork as required.

Clearance (a):

0.50 mm (0.020 in) or less

(A)

Reverse idler gear

(B)

Reverse coupling sleeve

Reverse shifter fork

Part No.

Mark

Content

32941AA070

2

Approaches reverse idler gear by 0.3 mm (0.012 in).

32941AA060

No mark

Standard

32941AA050

1

Approaches reverse idler gear No. 2 by 0.3 mm (0.012 in).

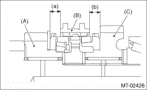
7. Inspect the rod end clearances (A) and (B). If any clearance is not within specifications, replace the rod or fork as required.

Clearance (A):

1st-2nd — 3rd-4th

0.1 — 0.9 mm (0.004 — 0.035 in)

Clearance (B):

3rd-4th — 5th-6th

0.2 — 1.0 mm (0.008 — 0.039 in)

Removal
1. Remove the manual transmission assembly from the vehicle. Manual Transmission Assembly > REMOVAL2. Remove the back-up light switch and the neutral position switch. Switches and Harness > REMOVAL3 ...

Installation
1. Install the 1st-2nd fork rod to the 1st-2nd shifter fork through the hole on the rear of the transmission case.2. Align the holes on the 1st-2nd fork rod and 1st-2nd shifter fork, and drive the str ...

Other materials:

Dtc p2098 post catalyst fuel trim system too lean bank 2
DTC DETECTING CONDITION:Detected when two consecutive driving cycles with fault occur.CAUTION:After servicing or replacing faulty parts, perform Clear Memory Mode Clear Memory Mode > OPERATION, and Inspection Mode Inspection Mode > PROCEDURE.WIRING DIAGRAM:• Engine Electrical System ENGINE T ...

© 2017-2025 Copyright www.sulegacy.com