Honda Civic manuals

Subaru Legacy BN/BS (2015-2019) Service Manual: Inspection

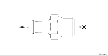
1. PCV VALVE

1. Check that the PCV valve has no deformation, cracks or other damages.

2. Check that air is discharged from (B) when air is blown into (A).

3. Check that air does not come out from (B) when air is blown into (A).

2. OTHER INSPECTIONS

Check that the PCV hose has no cracks, damage or loose part.

Removal
CAUTION:Do not remove unless the PCV valve is broken.1. Remove the clip (A), and loosen the clamps (B) and (C) securing the air intake boot.2. Remove the air intake boot from the air cleaner case (rea ...

Installation
1. Install the PCV valve onto the cylinder block RH.NOTE:Apply liquid gasket to the bolt threads of PCV valve.Liquid gasket:THREE BOND 1324 (Part No. 004403042) or equivalentTightening torque:25 N&mid ...

Other materials:

Dtc b1441 air mix door actuator circuit stuck (passenger)
DTC DETECTING CONDITION:Air mix door actuator RH is locked.TROUBLE SYMPTOM:Temperature of the passenger’s side cannot be adjusted for model with left/right independent air conditioner.WIRING DIAGRAM:Air conditioning system Air Conditioning System > WIRING DIAGRAMSTEPCHECKYESNO1.CHECK CONNECTO ...

© 2017-2025 Copyright www.sulegacy.com