Honda Civic manuals

Subaru Legacy BN/BS (2015-2019) Service Manual: Inspection

CAUTION:

Fix the motor to prevent the motor from being shorted by moving during operation.

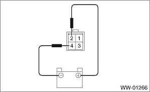
1. Connect the battery to the motor assembly - rear wiper connector, and check that the motor assembly - rear wiper operates.

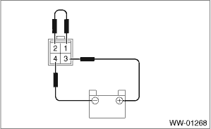
2. Connect the battery to terminals of the connector, and remove the terminal connection with motor rotating, and stop the motor in mid-operation.

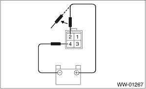
3. Connect the battery and check that the motor stops at the automatic stop position after the motor operates at low speed again.

Removal
1. Disconnect the ground terminal from battery sensor. NOTE2. Remove the rear gate trim. Rear Gate Trim > REMOVAL3. Remove the arm assembly - rear wiper.(1) Remove the cover - rear wiper arm.(2) Rem ...

Installation
1. Check that the mark on the cap - pivot wiper faces up.2. Install the motor assembly - rear wiper.(1) Install the bolts, and install the motor assembly - rear wiper.Tightening torque:6 N·m (0 ...

Other materials:

Dtc p062f internal control module eeprom error
NOTE:For the diagnostic procedure, refer to DTC P0606. Diagnostic Procedure with Diagnostic Trouble Code (DTC) > DTC P0606 CONTROL MODULE PROCESSOR1. OUTLINE OF DIAGNOSISJudge as NG when the EEPROM operation is abnormal.2. COMPONENT DESCRIPTION(1)Throttle position sensor(5)Accelerator pedal positio ...

© 2017-2025 Copyright www.sulegacy.com