Honda Civic manuals

Subaru Legacy BN/BS (2015-2019) Service Manual: Inspection

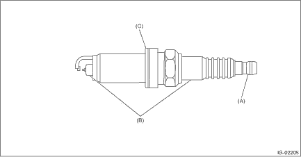
1. Check the spark plug for abnormalities. If defective, replace the spark plug.

(A)

Terminal damage

(B)

Crack or damage in insulator

(C)

Damaged gasket

2. Check the spark plug electrode and condition of the insulator. If abnormal, check and repair the cause and replace the spark plug.

(1) Normal:

Brown to grayish-tan deposits and slight electrode wear indicate correct spark plug heat range.

(2) Carbon fouled:

Dry fluffy carbon deposits on the insulator and electrode are mostly caused by slow-speed driving in town, weak ignition, too rich fuel mixture, etc.

(3) Oil fouled:

Wet black deposits show oil entrance into combustion chamber through worn piston rings or increased clearance between valve guides and valve stems.

(4) Overheating:

A white or light gray insulator with black or brown spots and bluish burnt electrodes indicate engine overheating, wrong selection of fuel, or loose spark plugs.

3. Using a nylon brush, etc., clean and remove the carbon or oxide deposits from the spark plug. If deposits are too stubborn, replace the spark plugs. After cleaning the spark plugs, check the spark plug gap “L” using a gap gauge. If it is not within the standard, replace the spark plug.

NOTE:

Never use a plug cleaner.

Do not use a metal brush as it may damage the electrode area.

Spark plug gap L:

Standard

1.0 — 1.1 mm (0.039 — 0.043 in)

Removal
Spark plug:Refer to “SPECIFICATION” for spark plug. General Description > SPECIFICATION1. RH SIDE1. Disconnect the ground terminal from battery sensor. NOTE2. Remove the air cleaner elem ...

Installation
1. RH SIDE1. Install the spark plugs using a spark plug socket.Tightening torque:18 N·m (1.8 kgf-m, 13.3 ft-lb)2. Install the ignition coil.CAUTION:Degrease the ignition coil fixing portion and ...

Other materials:

Dtc p2119 throttle actuator "a" control throttle body range/performance
NOTE:For the diagnostic procedure, refer to DTC P2101. Diagnostic Procedure with Diagnostic Trouble Code (DTC) > DTC P2101 THROTTLE ACTUATOR "A" CONTROL MOTOR CIRCUIT RANGE/PERFORMANCE1. OUTLINE OF DIAGNOSISJudge as NG when the target opening angle and actual opening angle is mismatched or the curr ...

© 2017-2025 Copyright www.sulegacy.com