Honda Civic manuals

Subaru Legacy BN/BS (2015-2019) Service Manual: Installation

1. Install the master cylinder to the pedal assembly.

Tightening torque:

18 N·m (1.8 kgf-m, 13.3 ft-lb)

(A)

Master cylinder

2. Install the clutch pipe to the master cylinder.

Tightening torque:

15 N·m (1.5 kgf-m, 11.1 ft-lb)

3. Connect the clutch stroke sensor connector.

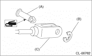
4. Install the push rod of the master cylinder, and install the clevis pin and clip.

CAUTION:

Always use a new clevis pin.

NOTE:

Apply grease to the clevis pin.

(A)

Clevis pin

(B)

Clip

(C)

Push rod

5. Install the pedal assembly. Clutch Pedal > INSTALLATION

6. Install the steering column. Steering Column > INSTALLATION

7. Fill the recommended brake fluid. Clutch Fluid

8. After bleeding air from the clutch system, ensure that no fluid leaks and the clutch operates properly. Clutch Fluid Air Bleeding

9. Install the instrument panel lower cover. Instrument Panel Lower Cover > INSTALLATION

10. Connect the ground terminal to battery sensor. NOTE

Inspection
If any damage, deformation, wear, swelling, rust or other faults are found on the master cylinder assembly, reservoir tank, clutch damper, clutch pipe and clutch hose, replace the faulty part. ...

Operating cylinder
...

Other materials:

Dtc p0713 transmission fluid temperature sensor "a" circuit high
DTC DETECTING CONDITION:Immediately at fault recognitionTROUBLE SYMPTOM:• Excessive shift shock• Shift characteristics malfunction1. ENGINE TYPE FBWIRING DIAGRAM:CVT control system CVT Control System > WIRING DIAGRAMSTEPCHECKYESNO1.CHECK HARNESS.1) Turn the ignition switch to ON.2) Meas ...

© 2017-2026 Copyright www.sulegacy.com