Honda Civic manuals

Subaru Legacy BN/BS (2015-2019) Service Manual: Adjustment

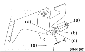
1. Loosen the lock nut, and adjust the stop light switch position until the clearance (A) between the threaded end of the stop light switch and stopper becomes 1.1 mm (0.04 in). Then, tighten the lock nut.

Tightening torque:

8 N·m (0.8 kgf-m, 5.9 ft-lb)

2. Tighten the lock nut.

(a)

Stop light switch

(b)

Lock nut A

(c)

Lock nut B

(d)

Stopper

(e)

Brake pedal

Removal
1. Disconnect the ground terminal from the battery sensor, and wait for at least 60 seconds before starting work. NOTE2. Remove the cover assembly - instrument panel LWR driver. Instrument Panel Low ...

Installation
1. Install the stop light switch onto the bracket with screws and position it with the nut.2. Adjust the stop light switch position, and then tighten the nut. Stop Light Switch > ADJUSTMENTTightening ...

Other materials:

Dtc u1232 lost communication with rear/side radar control module
DTC DETECTING CONDITION:No data is received from radar sensor.TROUBLE SYMPTOM:Radar sensor does not operate normally.STEPCHECKYESNO1.CHECK PERFORMING OF BASIC DIAGNOSTIC PROCEDURE.Was the basic diagnostic procedure performed up to STEP 8- Diagnostic Procedure with Diagnostic Trouble Code (DTC) > DTC ...

© 2017-2026 Copyright www.sulegacy.com