Honda Civic manuals

Subaru Legacy BN/BS (2015-2019) Service Manual: Assembly

CAUTION:

Wrap shaft splines with vinyl tape to protect the boot from scratches.

NOTE:

Use specified grease.

BJ, EBJ side:

NKG814

DOJ side:

NKG814

1. Install the BJ or EBJ boot in specified position, and fill it with 50 to 60 g (1.76 to 2.12 oz) of specified grease.

2. Place the DOJ boot at the center of shaft.

3. Insert the DOJ cage onto shaft.

NOTE:

Insert the cage with the cutout portion facing the shaft end, since the cage has an orientation.

(A)

Cage

(B)

Cutout portion

4. Install the DOJ inner race on shaft and fix the snap ring in place with pliers.

NOTE:

Confirm that the snap ring is completely fitted in the shaft groove.

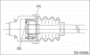
5. Install the cage to inner race fixed upon shaft.

NOTE:

Fit the cage with the protruding section aligned with the track on the inner race, and turn by a half pitch.

(A)

Inner race

(B)

Cage

6. Fill 80 to 90 g (2.82 to 3.17 oz) of specified grease into the inner side of the DOJ outer race.

7. Apply a thin coat of specified grease to the cage pocket and ball.

8. Insert the ball bearings into the cage pocket.

9. Align the outer race track and ball positions, and place the shaft, inner race, cage and ball bearings in the original positions, and then fix outer race in place.

(A)

Outer race

(B)

Grease

10. Install the snap ring in the groove on the DOJ outer race.

NOTE:

Assure that the balls, cage and inner race are completely fitted in the outer race of DOJ.

Use care not to place the matched position of snap ring in the ball groove of outer race.

Pull the shaft lightly and assure that the circlip is completely fitted in the groove.

11. Apply an even coat of the specified grease [20 to 30 g (0.71 to 1.06 oz)] to the entire inner surface of boot. Also apply grease to the shaft.

12. Install the DOJ boot taking care not to twist it.

NOTE:

The inside of the large end of DOJ boot and the boot groove shall be cleaned so as to be free from grease and other substances.

When installing the DOJ boot, position the outer race of DOJ at center of the stroke.

13. Put a new band through the clip and wind twice in the band groove of the boot.

14. Pinch the end of band with pliers. Hold the clip and tighten securely.

NOTE:

When tightening boot, use care so that the air within the boot is appropriate.

15. Tighten the band using the ST.

NOTE:

Tighten the band until it cannot be moved by hand.

Preparation tool:

ST: BAND TIGHTENING TOOL (925091000)

16. Tap the clip with the punch provided at the end of the ST.

NOTE:

Tap to an extent that the boot underneath is not damaged.

Preparation tool:

ST: BAND TIGHTENING TOOL (925091000)

17. Cut off the band with an allowance of about 10 mm (0.39 in) left from the clip and bend this allowance over the clip.

NOTE:

Be careful so that the end of the band is in close contact with clip.

18. Install the BJ boot or EBJ boot band in the same procedure as a DOJ boot.

19. Extend and retract the DOJ repeatedly to provide an equal coating of grease.

Removal
1. Disconnect the ground terminal from battery sensor. NOTE2. Lift up the vehicle, and then remove the rear wheels.3. Remove the nut - axle.CAUTION:Do not loosen the nut - axle while the rear axle is ...

Installation
1. Replace the rear differential side oil seal. Rear Differential Side Oil Seal > REPLACEMENTNOTE:After pulling out the drive shaft assembly, be sure to replace with a new oil seal.2. Insert the driv ...

Other materials:

Dtc u0230 lost communication with power rear gate control module
DTC DETECTING CONDITION:No data is received from the power rear gate CM.TROUBLE SYMPTOM:The power rear gate does not operate normally.WIRING DIAGRAM:NOTE:For the coupling connector, refer to “WIRING SYSTEM”.Power rear gate system Power Rear Gate System > WIRING DIAGRAMSTEPCHECKYESNO1.CH ...

© 2017-2025 Copyright www.sulegacy.com